1993 honda accord parts diagram

Parting out 1996 Honda Accord - Stock # 120117 - Tom's Foreign Auto. 18 Pics about Parting out 1996 Honda Accord - Stock # 120117 - Tom's Foreign Auto : 1993 Honda Accord Parts Diagram | Automotive Parts Diagram Images, Wiring Diagram Blog: Download 2003 Honda Odyssey Transmission Diagram and also Dodge Grand Caravan Bolt. Arm. CONTROL. Lateral. Pivot - 6507506AA.

Parting Out 1996 Honda Accord - Stock # 120117 - Tom's Foreign Auto

Parting out 1996 Honda Accord - Stock # 120117 - Tom's Foreign Auto blog.tomsforeign.com

accord 1996 parts honda parting

2004 Honda Accord Parts Diagram - Drivenheisenberg

2004 Honda Accord Parts Diagram - Drivenheisenberg drivenheisenberg.blogspot.com

accord sdc a01zz bulkhead 5at

2005 Honda Accord Parts Diagram - Atkinsjewelry

2005 Honda Accord Parts Diagram - Atkinsjewelry atkinsjewelry.blogspot.com

accord honda 2005 diagram pipe 2007 parts atf rcj sedan hybrid

Dodge Grand Caravan Bolt. Arm. CONTROL. Lateral. Pivot - 6507506AA

Dodge Grand Caravan Bolt. Arm. CONTROL. Lateral. Pivot - 6507506AA www.lindsaychryslerparts.com

chrysler dodge

Wiring Diagram Blog: Download 2003 Honda Odyssey Transmission Diagram

Wiring Diagram Blog: Download 2003 Honda Odyssey Transmission Diagram www.pinterest.com

civic

2004 Honda Accord Parts Diagram - Diagram For You

2004 Honda Accord Parts Diagram - Diagram For You kibodeclanchester.blogspot.com

diagram 8way 5at 6mt sdn

Parting Out 2001 Honda Accord - Stock #100651 . - Tom's Foreign Auto

Parting out 2001 Honda Accord - Stock #100651 . - Tom's Foreign Auto blog.tomsforeign.com

accord honda 2001 parts parting

Oem Parts, 2005 Honda Accord, Parts Catalog

Oem parts, 2005 honda accord, Parts catalog www.pinterest.com

Repair-manuals: 1987 Honda Accord Repair Manual

repair-manuals: 1987 Honda Accord Repair Manual repair-manuals.blogspot.com

accord 1987 honda repair

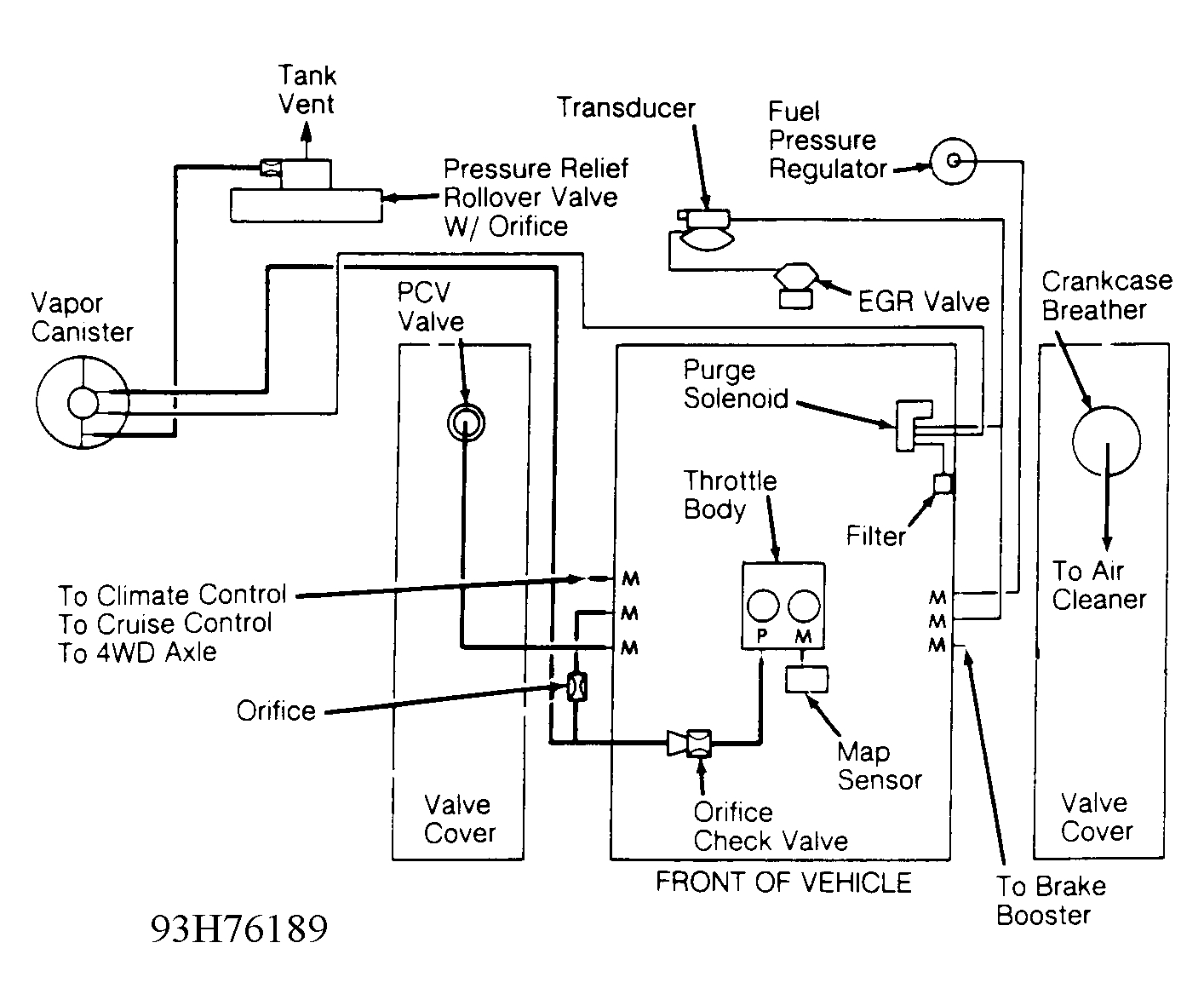
[DIAGRAM] 93 Dakota Vacuum Diagram

[DIAGRAM] 93 Dakota Vacuum Diagram diagramfactory.blogspot.com

dakota

2003 Honda Accord V6 Exhaust Diagram - View All Honda Car Models & Types

2003 Honda Accord V6 Exhaust Diagram - View All Honda Car Models & Types viewallhondacarmodelsandtypes.blogspot.com

v6 crackles

2004 Honda Accord Parts Diagram - Diagram For You

2004 Honda Accord Parts Diagram - Diagram For You kibodeclanchester.blogspot.com

tubing braman

Transmission Solenoid Question

Transmission Solenoid Question www.odyclub.com

solenoid transmission odyssey 2004 1999 question

Honda Online Store : 1991 Accord Abs Modulator (1) Parts

Honda online store : 1991 accord abs modulator (1) parts estore.honda.com

1993 Honda Accord Parts Diagram | Automotive Parts Diagram Images

1993 Honda Accord Parts Diagram | Automotive Parts Diagram Images carpny.org

1997 taurus carpny regarding schemas

1991 Honda Accord: When The Car Starts, It Starts Good And It

1991 Honda Accord: When the Car Starts, It Starts Good and It www.2carpros.com

honda accord 1991 connector tcm located 1990 where alb switch speedometer ignition ecm throttle body jumper scs diagnostic 2carpros light

Parting Out 1999 Honda Accord - 100439 . - Tom's Foreign Auto Parts

Parting out 1999 Honda Accord - 100439 . - Tom's Foreign Auto Parts blog.tomsforeign.com

accord 1999 parts honda parting

Repair Guides

Repair Guides www.autozone.com

thermostat integra housing acura honda leak cooling system replace radiator replacement hose drain remove repair lower fig guide

Transmission solenoid question. Thermostat integra housing acura honda leak cooling system replace radiator replacement hose drain remove repair lower fig guide. V6 crackles