1985 chevy truck engine diagram

I am swapping engines in a 1985 chevy c20 truck 350 engine. I am. 16 Pics about I am swapping engines in a 1985 chevy c20 truck 350 engine. I am : 55 Elegant Chevy 350 Starter Wiring Diagram | Chevy, 1985 chevy truck, I am swapping engines in a 1985 chevy c20 truck 350 engine. I am and also power stearing brackets | GM Square Body - 1973 - 1987 GM Truck Forum.

I Am Swapping Engines In A 1985 Chevy C20 Truck 350 Engine. I Am

I am swapping engines in a 1985 chevy c20 truck 350 engine. I am www.justanswer.com

chevy steering power 1985 pump brackets bracket 350 engine truck swapping c20 master hal tech dosent

Need Some Help On My 86 Chevy Project - The 1947 - Present Chevrolet

need some help on my 86 chevy project - The 1947 - Present Chevrolet 67-72chevytrucks.com

diagram chevy 305 engine wiring 1986 1985 transmission v8 gmc truck 0l chevrolet schematic tapatalk c4 4bbl altitude federal low

Power Stearing Brackets | GM Square Body - 1973 - 1987 GM Truck Forum

power stearing brackets | GM Square Body - 1973 - 1987 GM Truck Forum www.gmsquarebody.com

brackets steering power pump engine 1987 truck location gm square body 1973 stearing gmsquarebody

1994 Chevy 5 7 Tbi Wiring Harness - Style Guru: Fashion, Glitz, Glamour

1994 Chevy 5 7 Tbi Wiring Harness - Style Guru: Fashion, Glitz, Glamour www.stylesgurus.com

tbi unplugged pigtail

55 Elegant Chevy 350 Starter Wiring Diagram | Chevy, 1985 Chevy Truck

55 Elegant Chevy 350 Starter Wiring Diagram | Chevy, 1985 chevy truck www.pinterest.com

wiring chevy solenoid lowrider imi

Free Auto Wiring Diagram: 1985 GMC Truck Front Side Wiring

Free Auto Wiring Diagram: 1985 GMC Truck Front Side Wiring autowiringdiagram.blogspot.com

I Have A 1988 Chevy 2500 5.7. I Rebuild Engine And Now The Engine Turns

I have a 1988 chevy 2500 5.7. I rebuild engine and now the engine turns www.justanswer.com

Basic Car Parts Diagram | 1989 Chevy Pickup 350 Engine Exploded View

Basic Car Parts Diagram | 1989 Chevy Pickup 350 Engine Exploded View www.pinterest.com

chevy engine diagram parts 1989 exploded

Need A Diagram 1957 Chevy 283 Engine - TriFive.com, 1955 Chevy 1956

need a Diagram 1957 Chevy 283 engine - TriFive.com, 1955 Chevy 1956 www.trifive.com

oil diagram engine pressure chevy rebuild fresh 1957 need build

Need Some Help On My 86 Chevy Project - The 1947 - Present Chevrolet

need some help on my 86 chevy project - The 1947 - Present Chevrolet 67-72chevytrucks.com

engine 1986 chevy 4bbl altitude federal 0l v8 transmission automatic

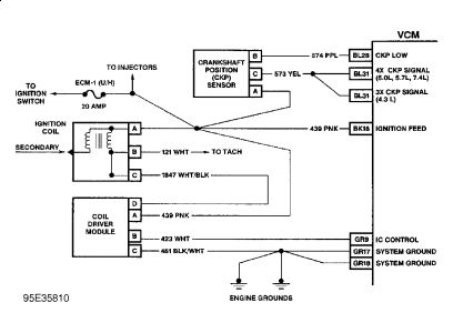
1996 Chevy Truck: In The Midst Of An Engine Swap, We Lost Spark.

1996 Chevy Truck: in the Midst of An Engine Swap, We Lost Spark. www.2carpros.com

Engine Wiring/vacuum Connections! | GM Square Body - 1973 - 1987 GM

Engine wiring/vacuum connections! | GM Square Body - 1973 - 1987 GM www.gmsquarebody.com

vacuum wiring engine choke 1987 truck gm switch electric connections carb sensor oil where pressure 1973 gmsquarebody does

1956 All Makes All Models Parts | 14505C | 1956 Chevrolet Truck Full

1956 All Makes All Models Parts | 14505C | 1956 Chevrolet Truck Full www.classicindustries.com

wiring truck diagram 1956 chevrolet diagrams parts expand

GMC Truck Wiring Diagrams On Gm Wiring Harness Diagram 88 98 | Kc

GMC Truck Wiring Diagrams on Gm Wiring Harness Diagram 88 98 | kc www.pinterest.com.mx

283 Chevy Engine Parts Diagram | Wiring Diagram Database

283 Chevy Engine Parts Diagram | Wiring Diagram Database 9.lvtravelodge.com

yamaha alternator schematic choke eaton volovets mercruiser ignition ka20 tonetastic cdx sw6de pickup dpf imageservice wiringdiagramsample diagramimages digramssample

78 Chevy C10 Gauge Wiring - Wiring Diagram Networks

78 Chevy C10 Gauge Wiring - Wiring Diagram Networks kelvin-okl.blogspot.com

c10 8n thunderbird chev 1951 justanswer 101warren oldcarmanualproject

Gmc truck wiring diagrams on gm wiring harness diagram 88 98. Oil diagram engine pressure chevy rebuild fresh 1957 need build. Need a diagram 1957 chevy 283 engine